Anchor Zykon FZEA II Fischer INOX
Anchor with undercut and internal thread for pre-installation in cracked concrete.
Advantages
The Zykon hammer-in anchor is suitable for individual fixings in cracked and non-cracked concrete.
The combination of the hammer-in anchor in the hole with the ZYKON undercut allows for individual fixings in cracked concrete.
The special ZYKON undercut technology reduces the effort required during installation.
The special drill bit for FZUB anchors enables quick installation by creating an undercut without having to change the tool.
The marks left by the setting tool on the edge of the anchor are proof of correct installation.
Installation with minimal expansion allows for small edge distances and a small axial spacing of the anchors.
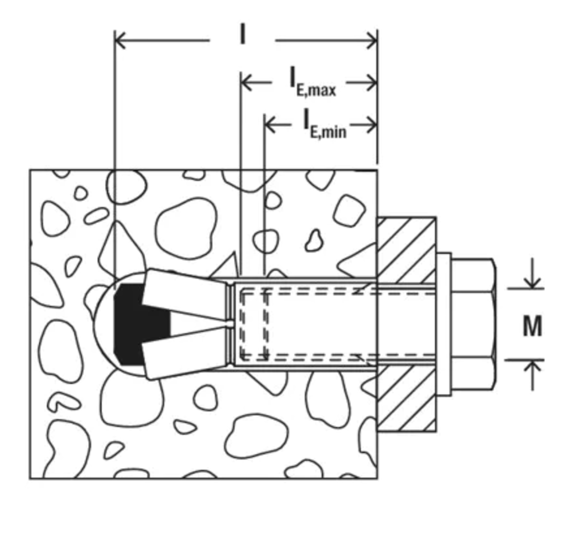
The fischer ZYKON FZEA II hammer-in anchor with internal thread is made of galvanized, stainless or corrosion-resistant steel. The hammer-in anchor with a small anchoring depth is designed for individual anchorings in cracked concrete. The undercut hole is made in one drilling process using a special FZUB drill. The undercut anchor is designed for pre-installation. During anchor installation using the FZED Plus setting tool, the expanding sleeve overlaps the cone. In this way, it fills the undercut zone, adapting its shape to the hole. The European Technical Assessment ETA and fire resistance R 120 prove safe functioning.
Product inquiry form
- Group
- I5674
