TherMax Fischer Anchor
The Technical Assessment allows for stand-off installation in ETICS thermal insulation systems.
Advantages
Stand-off installation also allows for adjustment of the fixing to the required position, which avoids pressure marks and damage to the ETICS thermal insulation system.
The plastic cone creates a thermal barrier between the fixing element and the internal fixing and minimises energy loss.
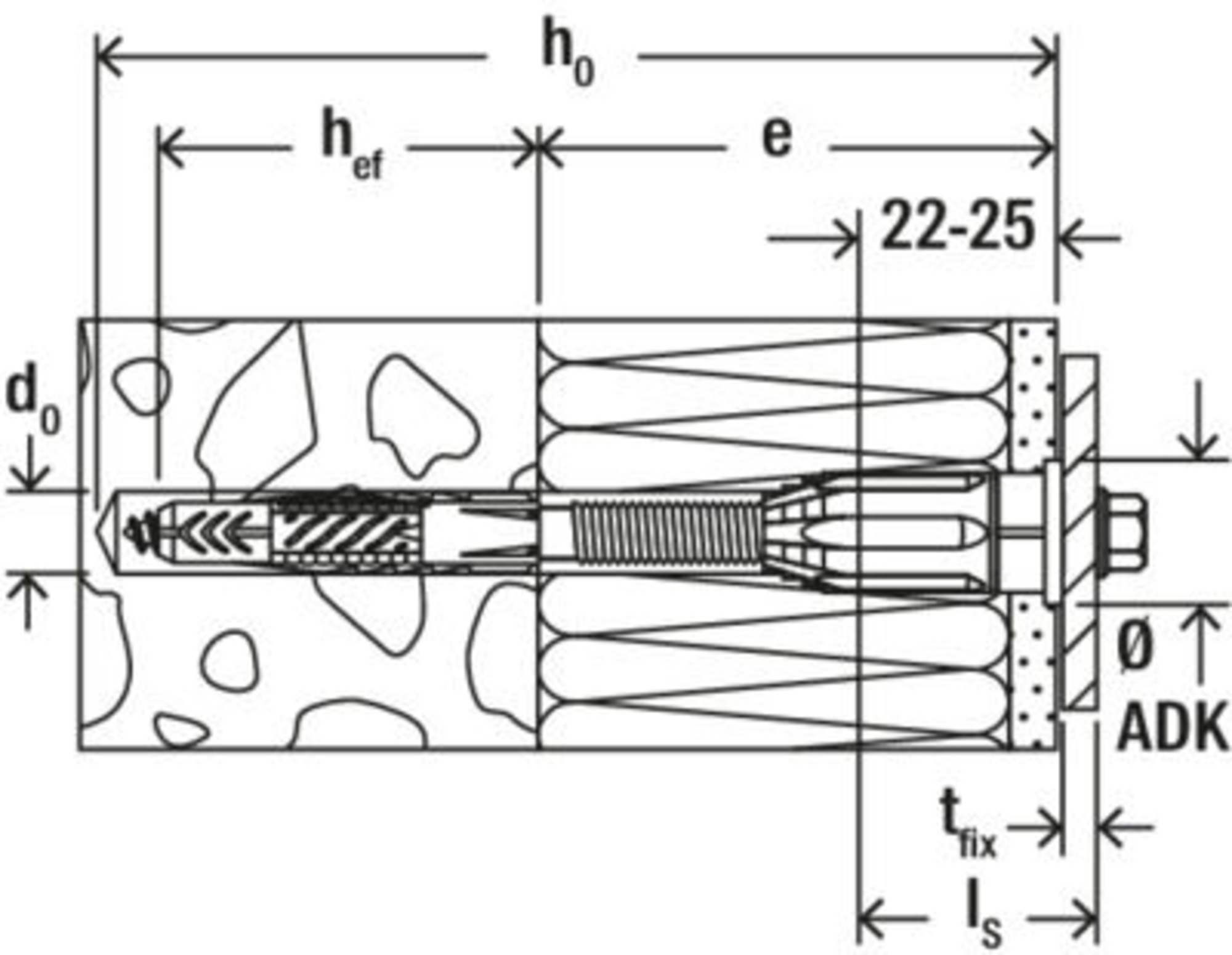
During installation, the glass fibre reinforced plastic cone cuts through the plaster into the ETICS insulation layer, adapting its shape without the need for special tools.
The combination of the TherMax 8 fixing with the UX universal plug ensures secure anchoring in the substrate.
Installation without the UX plug directly in wood is possible after pre-drilling.
The fischer TherMax 8 fixing system is used for installation in insulation layers (ETICS) and non-load-bearing layers with a thickness of 62 mm up to 290 m. In combination with fischer injection mortars, the system is suitable for concrete and masonry. The Technical Assessment increases the level of safety. During installation, the cone of the plastic threaded rod reinforced with glass fibre cuts through the plaster into the insulation layer without using a setting tool. This shortens installation times and reduces costs. The TherMax system allows for stepless adjustment when flush with uneven substrates. It is used to secure heavy loads, e.g. roofs, air conditioning units and satellite dishes in concrete, aerated concrete and masonry made of solid brick or hollow bricks.
Product inquiry form
- Group
- 5741
